티스토리 뷰
목차
남원시외버스터미널 시간표의 잦은 변동으로 가장 최신 시간표로 확인하는 게 매우 중요합니다. 이 글에서 최근 업데이트된 남원시외버스터미널 시간표와 예매 방법 안내드립니다.

최신 남원시외버스터미널 시간표
최근 업데이트된 남원시외버스터미널 시간표는 아래 링크에서 확인할 수 있습니다.
위 링크에 접속하면 아래와 같은 화면 확인할 수 있습니다.

여기서 출발지에 '남원'을 입력하고, 도착지에 본인이 가고자 하는 목적지를 입력합니다.

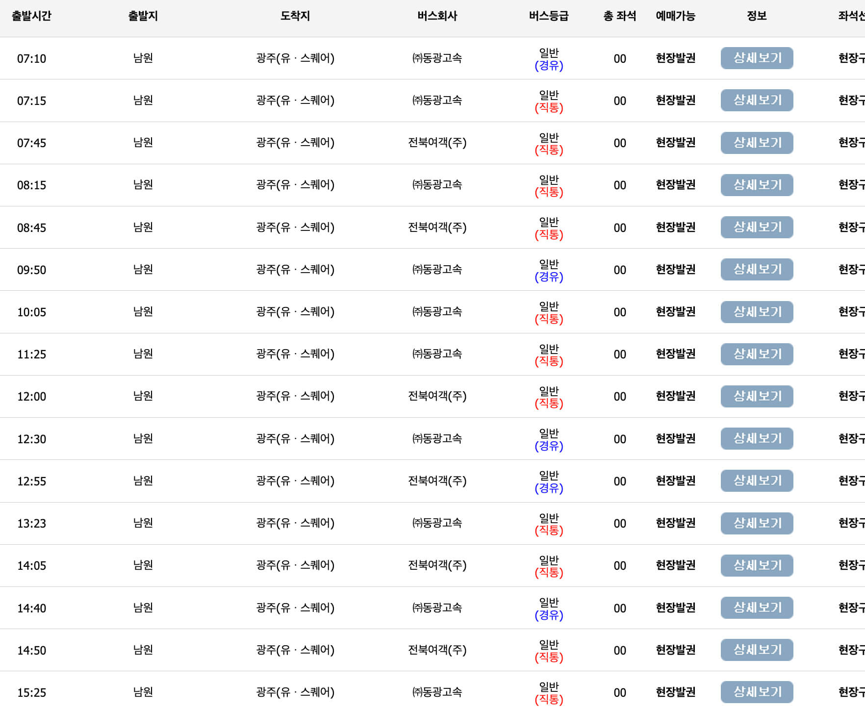
그러면, 위와 같이 남원시외버스터미널에서 출발하는 실시간 시간표 확인할 수 있습니다.
위 사진은 남원에서 광주 가는 시외버스 시간표입니다. 다른 도착지로 가는 남원시외버스터미널 시간표 확인이 필요하시다면 위에 안내드린 링크 참고하여 확인하시기 바랍니다.
* 참고사항
안타깝게도 남원시외버스터미널은 온라인 예매를 제공하고 있지 않으며, 현장에서만 예매 가능한 점 참고 바랍니다.
남원시외버스터미널의 역사
1. 초기 개발과 배경
남원 시외버스터미널의 역사는 20세기 중반으로 거슬러 올라갑니다. 당시 남원은 전통적인 농업 중심의 도시였지만, 산업화와 함께 점차 다른 도시와의 교류 필요성이 증가하면서 교통망 확장이 중요해졌습니다. 이 시기에 전국적으로 시외버스망이 발달하게 되었고, 남원 역시 교통 인프라 확충의 일환으로 시외버스터미널이 설립되었습니다.



2. 1970년대 – 1980년대: 터미널의 확장
1970년대와 1980년대에 들어서면서 대한민국 전역에서 도로 교통망이 본격적으로 확장되었고, 남원 시외버스터미널 또한 이에 따라 확장 및 개선이 이루어졌습니다. 이 시기에 터미널은 남원에서 인근 지역으로 이어지는 주요 시외 교통의 중심지로 자리매김했습니다. 특히 남원은 전주, 광주, 대전 등 주요 도시와의 연결을 강화하기 위해 도로망 확충과 함께 터미널의 시설을 개선하였습니다.



3. 1990년대 이후 – 현대화와 발전
1990년대 이후 남원 시외버스터미널은 현대화 과정을 거쳤습니다. 교통량이 증가하면서 터미널의 시설을 개선하고, 보다 편리한 서비스 제공을 위해 대합실, 매표소 등의 시설을 새롭게 단장하였습니다. 또한, 버스의 노선 역시 다양화되었고, 이용자들의 편의를 고려한 여러 서비스들이 도입되었습니다. 특히 이 시기부터 남원은 관광 도시로서도 많은 주목을 받으면서, 관광객들의 유입이 늘어났고, 이에 따라 터미널은 지역 발전의 핵심 인프라로 자리 잡았습니다.



4. 현재의 남원 시외버스터미널
오늘날 남원 시외버스터미널은 전라북도와 전남, 경남 지역을 연결하는 중요한 거점 역할을 하고 있습니다. 남원의 관광 명소인 광한루원, 춘향테마파크, 지리산 등을 찾는 관광객들은 남원 시외버스터미널을 통해 접근할 수 있어, 관광 교통의 중심으로 기능하고 있습니다. 터미널 내의 시설은 현대화되었으며, 교통 서비스의 질이 크게 향상되어 승객들에게 보다 나은 편의를 제공하고 있습니다.



5. 남원 시외버스터미널의 미래
남원 시외버스터미널은 앞으로도 지역 교통과 관광의 중심지로서 중요한 역할을 할 것입니다. 특히, 지속적인 도시 개발과 관광 산업의 발전에 따라 터미널의 역할이 더욱 중요해질 전망입니다. 교통 서비스의 디지털화, 친환경 교통수단의 도입 등 미래 교통 변화에 발맞춰 남원 시외버스터미널 역시 지속적으로 발전해 나갈 것으로 예상됩니다.



마치며..
남원시외버스터미널 시간표와 더불어 예매 방법 및 역사에 대해서도 같이 살펴봤습니다. 남원시외버스터미널 시간표는 주기적으로 변동됩니다. 따라서, 위에 안내드린 방법으로 가장 최신 시간표로 확인하시기 바랍니다.


남원 시외버스터미널은 남원 지역 주민들과 관광객들에게 중요한 교통 허브로서 역할을 해왔으며, 남원의 역사와 발전에 기여한 중요한 인프라 중 하나입니다. 앞으로도 남원의 발전과 함께 시외버스터미널의 역할은 더욱 확대될 것이며, 남원시의 교통 및 경제 발전에 중요한 역할을 지속적으로 할 것입니다.